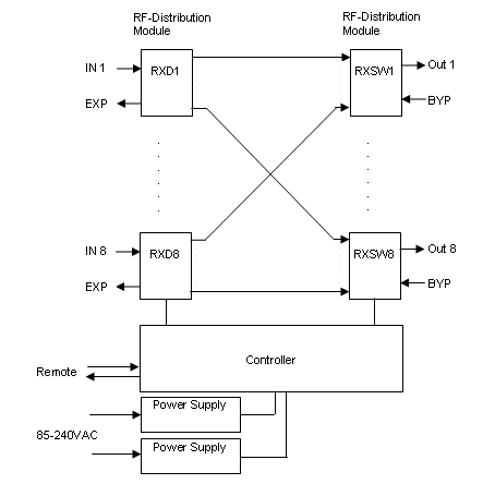
5 Theory of Operation
The switch matrices consists of the following main modules:
RF-Distribution Module
RF-Switching Module
Controller Module
Redundancy Power Supply